文章出處:球墨鑄鐵可調式防沉降檢查井蓋,成都地方標準井蓋,成都井蓋入圍品牌,成都地標井蓋 責任編輯:http://m.bmwnasce.com/ 閱讀量:31875 次 發表時間:2025-04-14 21:16:09
DB510100
四川省 (區域性)地方標準
DB510100/T 203—2016
球墨鑄鐵可調式防沉降檢查井蓋
2016-04-20發布 2016-05-01實施
目??次
9 標志、隨行文件、運輸和貯存................................................................. 17
附錄A(規范性附錄)D400設透氣孔球墨鑄鐵可調式防沉降Φ680檢查井蓋結構示意圖 .................19 附錄B(規范性附錄)D400不設透氣孔球墨鑄鐵可調式防沉降Φ680檢查井蓋結構示意圖 .............20 附錄C(規范性附錄)C250球墨鑄鐵可調式防沉降660*340*120雨水篦子結構示意圖 ....................21
前??言
本標準按照GB/T 1.1-2009給出的規則起草。
本標準由成都市城市管理委員會提出。
本標準起草單位:成都市城市道路橋梁管理處、成都產品質量檢驗研究院有限責任公司、成都市市政開發總公司、成都新同高復合器材有限公司、福州三鑫隆鑄業有限公司、廣州市安道給排水技術有限公司。
本標準起草人:王新代、謝進、貊洪昌、田濤、李麗、陳楊、蔣寧、劉世良、王志虎、張韶輝。
球墨鑄鐵可調式防沉降檢查井蓋
本標準規定了球墨鑄鐵可調式防沉降檢查井蓋的術語和定義、分類和結構形式、材料、要求、試驗方法、檢驗規則、標志、隨行文件、運輸和貯存。
本標準適用于成都市行政區域內,安裝在人行道、車行道、停車場、居民院落、廣場、貨運站、物流區、碼頭等地面的球墨鑄鐵可調式防沉降檢查井蓋設施(包括進水篦)。
下列文件對于本標準的應用是必不可少的。凡是注日期的引用文件,僅所注日期的版本適用于本標準。凡是不注日期的引用文件,其最新版本(包括所有的修改單)適用于本標準。
GB/T 1348 球墨鑄鐵件
GB/T 6414-1999 鑄件 尺寸公差與機械加工余量
GB/T 9441 球墨鑄鐵金相檢驗
GB/T 20878-2007 不銹鋼和耐熱鋼
GB/T 23661 建筑用橡膠結構密封墊
GB/T 23858 檢查井蓋
下列術語和定義適用于本標準。
3.1
檢查井
地下設施中用于連接、檢查、維護管線和安裝設備的豎向構筑物。
3.2
檢查井蓋
檢查井井口可開啟的封閉物,由井蓋和井座組成。
3.3
井蓋
檢查井蓋中可開啟的部分,用于封閉檢查井口 。
3.4
井座
井蓋設施中固定于檢查井井口或雨水口頂部的部分,用于安放井蓋。
3.5
雨水口
專門用于收集地表雨水并將其送入排水管道的一種檢查井。
3.6
可調式防沉降井蓋
可防止井蓋與路面不均勻沉降,井座承載面位于頂部與路面標高平齊的防沉降結構設計,井座與檢查井采用承插方式連接,上盤面為法蘭盤式結構。
3.7
可調式防沉降雨水箅子
可防止井蓋與路面不均勻沉降,井座承載面位于頂部與路面標高平齊的防沉降結構設計,用于雨水口的井蓋設施。
3.8
透氣孔
為避免管道內產生易燃易爆氣體的集聚,在井蓋上設置的通透性開孔。
3.9
彈性鎖定結構
與井蓋為一體,將井蓋固定在井座安裝位置上,能防止井蓋脫離井座的具有彈性的結構。
見圖10。
3.10
彈性緩沖減震膠墊
固定在井座或井蓋上具有彈性緩沖、降低磨耗、消除碰撞聲等功能的材料,如橡膠墊(膠圈)。
3.11
鉸鏈
井蓋與井座間的連接防盜裝置。
3.12
嵌入深度
井座頂面至井蓋與井座接觸的最低點高度。
見圖1中A。
3.13
井座支承面
支承井蓋的井座平面。
見圖1中B。

3.14
斜度
可調式防沉降檢查井蓋沿上下形成的斜度。
見圖1中e。
3.15
總間隙
一套檢查井蓋設施內,同一條直線上井座與井蓋之間最大獨立的間隙總和(α)。
見圖2(α1為左間隙,αc為中間間隙,αr為右間隙)。
3.16
井座凈開孔
檢查井井座孔口的最大內切圓直徑CO。
見圖3。

3.17
試驗載荷
在測試可調式防沉降檢查井蓋承載能力時規定施加的豎向載荷。
3.18
井座承載面
井座承受載荷的部分。
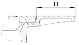
見圖4中所示D。

4.1 分類
4.1.1 可調式防沉降檢查井蓋按承載能力主要分為 C250、D400、E600三種類型。
4.1.2 可調式防沉降檢查井蓋按使用場所分為如下三組:
——第一組(最低選用C250類型):人行道、居民院落、廣場,道路兩側路緣石邊緣0.5m以內的雨水口。
——第二組(最低選用D400類型):城市道路、公路、高速公路及大型車停車場等車輛通行區域。
——第三組(最低選用E600類型):貨運站、物流區、碼頭等重型車輛通行、停放區域。
4.1.3 可調式防沉降檢查井蓋按尺寸劃分為人孔和非人孔兩種。非人孔規格尺寸不作規定。成都市人孔規格尺寸按井座凈開孔(co)主要分為如下兩類: 680mm、780mm。生產企業還可根據用戶要求生產使用其他規格的可調式防沉降檢查井蓋。
4.2 結構形式
球墨鑄鐵可調式防沉降檢查井蓋結構可參照附錄A、附錄B、附錄C。
5.1 球墨鑄鐵
球墨鑄鐵可調式防沉降檢查井蓋的球墨鑄鐵應使用不低于QT500-7的牌號,應符合GB/T 1348的規定,球化率應不小于80%,球化等級不低于三級。
5.2 橡膠條(橡膠塊)
硫化氯丁橡膠,橡膠條應符合GB/T23661中E類的要求。拉伸強度≥12Mpa,拉斷伸長率≥175%,壓縮永久變形(100℃×22h)≤35%,硬度(紹爾A型)≥75,耐臭氧(200x10-8,40℃,預拉伸20%,100h)表面不龜裂。
5.3 不銹鋼(鉸鏈)
不銹鋼(鉸鏈)材質應符合GB/T 20878-2007中S30408(新牌號06Crl9Nil0)的要求。
6.1 外觀
6.1.1 井蓋的外表面應完整、光潔,花紋、標記及字標清晰無缺損,無毛刺、鋒利邊緣、翹曲變形、龜裂,材質應均勻,不得有裂紋和影響產品性能的冷隔、鼓包、砂眼等缺陷,不得有補焊。
6.1.2 蓋座保持頂平,井蓋上表面不得有拱度。井蓋與井座的接觸面應平整、光滑。井蓋與井座應采用同一材質。
6.1.3 與井座接觸的井蓋底面及井座支承面應進行機械加工,井蓋與井座的裝配尺寸、公差等級應不低于GB/T 6414-1999中CT10的規定,保證井蓋與井座接觸平穩。
6.1.4 井蓋關閉后,井蓋與井座的高度差不得大于1.5mm。
6.1.5 彈性緩沖減震膠墊宜鑲嵌在井座支承面上,膠墊宜采用墊圈。井座支承面上設“梯形”凹槽,嵌入深度為8mm(見圖6);橡膠墊圈頂面寬12mm,底面寬14mm,高度10mm,形狀為梯形(見圖5);井蓋閉合時與井座支承面金屬間的距離為1mm~2mm(見圖7)。若采用塊狀膠墊時,墊塊在井座支承面上應均勻分布,間距允許誤差不得超過3mm,嵌入井座支承面應穩固,高出井座支承面1mm~2mm。

圖6 “梯形”凹槽 圖7 橡膠墊圈安裝位置圖


6.1.6 雨水箅子的過水縫隙應勻勻分布,過水縫隙面積不得少于雨水口總面積的40%。
6.2 結構尺寸
6.2.1 檢查井蓋上表面應有防滑花紋,C250高度為2mm~6mm;D400、E600高度為3mm~8mm,凹凸部分面積與整個面積相比應不小于30%,且不大于70%。
6.2.2 鉸接井蓋的仰角應不小于100°。
6.2.3 檢查井蓋的斜度e以1:10為宜。
6.2.4 嵌入深度不低于25mm。
6.2.5 總間隙:井蓋與井座的總間隙應符合表1的規定。
表1 總間隙
構件數量 | 井座凈開孔(co)mm | 總間隙α=(α1+αc+αr)mm |
1件 | <600 | ≤3 |
≥600 | ≤6 | |
2件 | <600 | ≤7 |
≥600 | ≤9 | |
3件或3件以上 | —— | ≤15,單件不超過5mm |
6.2.6 井座支承面寬度應不小于24mm。
6.2.7 透氣孔:適用于容易產生易燃易爆氣體的檢查井井蓋,透氣孔應設置在井蓋上,設置要求見圖
8。
說明:1、在距井蓋中心22.5cm與撬口成直角對稱位置開孔2個,直徑為30mm~38mm;
2、孔洞位置必須避開井蓋背面加強筋條;
3、孔洞周邊應與井蓋防滑紋凸起部分高度一致。
6.3 井蓋
6.3.1 井蓋厚度最薄部分(不含防滑花紋高度)不低于8mm。
6.3.2 井蓋與井座接觸面寬度不小于20mm(見圖9)。

6.3.3 井蓋與井座接觸表面應進行機械加工,保證同型號井蓋可互換。
6.3.4 承載等級D400、E600的檢查井蓋應設置三條剛性的彈性鎖定裝置(見圖10),當井蓋閉合時可使之與支座卡口緊扣,防止井蓋脫離支座,彈性鎖定裝置應采用整體鑄造的生產工藝。

6.4 井座
6.4.1 井座高度:C250井座高度宜不小于120mm ,D400、E600的井座高度宜不小于190mm。
6.4.2 對于D400、E600的井蓋設施,井座承載面徑向寬度應不小于80mm,最薄部分(不含防滑花紋高度)厚度不小于8mm。
6.4.3 井座的制造應當確保井蓋與井座的適配性,應通過對接觸表面機械加工,保證同型號井座可互換,通過防噪音的橡膠墊圈(或采用橡膠墊塊的多點設計)以確保無噪音。
6.4.4 井座外邊緣須有3個及以上限位凸塊(見圖10),限位凸塊與瀝青層緊密接觸,防止井蓋晃動。
6.4.5 井座凈開孔設計應切實滿足相關的安全和使用功能要求,一般人孔井座凈開孔直徑應不小于
600mm,其尺寸偏差符合表2的規定。
表2 尺寸偏差
人孔尺寸/mm | <700 | ≥700 |
尺寸偏差/mm | ±10 | ±10 |
6.4.6 井蓋與井座應采用內置式結構或其它可靠設計進行防盜。采用鉸接方式的,鉸鏈軸、銷宜采用同材質球墨鑄鐵或新牌號為06Crl9Nil0的不銹鋼,直徑不小于14mm。
6.5 承載能力
6.5.1 試驗載荷
井蓋的承載能力應符合表3的規定,對于井座凈開孔(co)小于250mm井蓋的試驗載荷應按表3所示乘以co/250,但不小于0.6倍表3的載荷。
表3 試驗載荷
類別 | C250 | D400 | E600 |
試驗載荷F/kN | 250 | 400 | 600 |
承載能力 | 經表中規定的相應試驗載荷后保持30s,可調式防沉降檢查井蓋不得出現影響使用的損壞。 | ||
6.5.2 殘留變形
C250、D400及E600井蓋的允許殘留變形值應小于co/500,當co<500mm時最大為1mm。
6.6 重量
檢查井蓋的成套重量應符合表4的規定。
序號 | 承載等級 | 規格型號 | 重量 | ||
凈開孔尺寸 | 高度 | ||||
1 | C250(水篦子) | 660 mm *340 mm | 120mm | ≥51千克/套 | |
2 3 | 680mm | 190mm | ≥95 | ||
780mm | 190mm | ≥130 | |||
4 5 | E600 | 680mm | 190mm | ≥108 | |
780mm | 190mm | ≥155千克/套 | |||
7.1 要求
井蓋設施應以使用時的整套狀態,進行工作條件下的荷載試驗。如井蓋設施內含彈性緩沖減震膠墊圈或墊塊,應去除墊圈或墊塊后再進行試驗,以保證準確性。
7.2 試驗設備
7.2.1 加載系統
7.2.1.1 加載系統由加載設備、剛性墊塊、橡膠墊片等組成。
7.2.1.2 加載設備應當能提供試驗載荷1.2倍以上的加載能力,并經過計量校準,其加載精度應不大于±3%。加載試驗裝置如圖11和圖12。

說明:1——加載; 2——剛性墊塊;3——橡膠墊片;
4——蓋板;5——井座;6——臺面。

說明:1——觀察孔;2——機架;3——井座;
4——橡膠避震圈;5——蓋板;
6——橡膠墊片;7——剛性墊塊;
8——傳感器;9——千斤頂。
圖12 加載試驗裝置2
7.2.1.3 檢查井蓋檢測的剛性墊塊尺寸要求見表5的規定。
表5 剛性墊塊尺寸
7.2.1.4 橡膠墊片安裝在剛性墊塊與井蓋之間,墊片的外緣尺寸與剛性墊塊相同,墊片厚度為6mm~
10mm。
7.2.2 量具
試驗用量具見表6。
表6 量具
序號 | 名稱 | 測量范圍/mm | 精確度 |
1 | 游標卡尺 | 0~1000 | ±0.1mm |
2 | 深度游標卡尺 | 0~200 | ±0.1mm |
3 | 鋼直尺 | 0~300 | ±0.5mm |
4 | 鋼卷尺 | 3500 | ±1mm |
5 | 角尺 | 根據需要選擇 | ±1′ |
6 | 百分表 | 0~10 | ±0.01mm |
7 | 塞尺 | 根據需要選擇 | ±0.01mm |
7.3 試驗項目
7.3.1 外觀質量
按6.1.1、6.1.2、6.1.3、6.1.6、6.3.4、6.4.4規定目測產品外觀,按6.1.4和6.1.5規定用量具測量。
7.3.2 尺寸偏差
7.3.2.1 檢查井蓋上表面防滑花紋高度按6.2.1規定用量具測量,以0.5mm的精度計算,通過測量凸起的上表面面積占總面積的百分比計算得出。
7.3.2.2 鉸接井蓋的仰角按6.2.2規定用量具測量。
7.3.2.3 檢查井蓋的斜度按6.2.3規定用量具測量。
7.3.2.4 井蓋嵌入深度按6.2.4規定用量具測量。
7.3.2.5 總間隙按6.2.5規定用量具測量,測量井蓋與井座之間的間隙應精確到0.5mm,間隙相加得到總間隙。
7.3.2.6 井座支承面寬度按6.2.6規定用量具測量。
7.3.2.7 透氣孔按6.2.7規定用量具測量。
7.3.2.8 井蓋厚度及井蓋與井座接觸面寬度按6.3規定用量具測量。
7.3.2.9 井座高度、承載面徑向寬度及厚度按6.4規定用量具測量。
7.3.2.10 井座凈開孔按6.4.5規定用量具測量。
7.3.2.11 鉸鏈軸的尺寸按6.4.6用量具測量。
7.3.3 承載能力
7.3.3.1 檢驗
檢查井蓋的承載能力通過加載系統按圖11、圖12進行檢驗。
7.3.3.2 試驗前準備
檢查墊片應當放在被測的井蓋上,豎軸垂直于表面,并與其井蓋的幾何中心重合(見圖13和圖14)。
a) b) c)


7.3.3.3 殘留變形的檢驗
加載前,記錄井蓋幾何中心位置的初始值,測量精度為0.1mm。以1kN/s~5 kN/s的速率施加載荷,直至達到2/3檢測載荷,然后卸載。此過程重復5次,最后記錄下幾何中心的最終值。根據初始值和第5 次卸載后最終值的差別計算殘留變形。殘留變形值應符合表7規定的數值。
7.3.3.4 承載能力試驗
以1kN/s~5kN/s的速率施加載荷直至本標準規定相應的試驗載荷F值,試驗載荷施加上后保持30s,可調式防沉降檢查井蓋未出現影響使用功能的損壞即判定為合格。
7.3.4 球化率檢驗
7.3.4.1 取樣部位
球化率試樣應分別取自井蓋中心位置或井座法蘭盤徑向中心位置。試塊以15mm×15mm為宜。
7.3.4.2 測試方法和結果
按金相檢驗GB/T 9441規定的方法進行測試。
7.3.5 橡膠條(橡膠塊)測試
橡膠條(橡膠塊)應符合GB/T 23661中E類的要求進行測試。
7.3.6 重量
按6.6條規定用臺秤稱重,檢驗結果保留小數點后1位。
7.3.7 其他要求
目測在啟閉井蓋時,彈性鎖定結構是否有效工作。
8.1 檢驗分類
檢驗分出廠檢驗和型式檢驗兩類。
8.2 批量
產品以同一級別、同一種類、同一原材料在相似條件下生產的可調式防沉降檢查井蓋構成批量,每
500套為一批,不足500套的按一批計。
8.3 出廠檢驗
8.3.1 檢驗項目
檢驗項目見表7。
表7 檢驗項目
序號 | 質量指標 | 檢驗項目 | 采用量具 |
1 | 外觀質量 | 表面 | 目測 |
2 | 蓋座裝配 | ||
3 | 橡膠條(墊)的安裝 | ||
4 | 井座支撐面凹槽 | ||
5 | 雨水篦過水縫隙 | ||
6 | 尺寸偏差 | 防滑花紋 | 鋼直尺測量,計算 |
7 | 井座支撐面凹槽尺寸 | 游標卡尺、深度游標卡尺 | |
8 | 仰角 | 角尺 | |
9 | 斜度 | 角尺 | |
10 | 嵌入深度 | 游標卡尺 | |
11 | 總間隙 | 塞尺 | |
12 | 支承面寬度 | 游標卡尺,鋼直尺 | |
13 | 透氣孔尺寸 | 游標卡尺 | |
14 | 井蓋 | 鋼卷尺 | |
15 | 井座 | 鋼卷尺 | |
16 | 井座凈開孔 | 鋼卷尺 | |
17 | 鉸鏈軸直徑 | 游標卡尺 | |
18 | 法蘭盤尺寸 | 鋼直尺 |
序號 | 質量指標 | 檢驗項目 | 采用量具 |
19 | 重量 | 重量 | 臺秤 |
20 | 承載能力 | 殘留變形 | 百分表,位移傳感器 |
21 | 試驗載荷 | 數控型液壓壓力機 | |
22 | 金相檢測 | 球化率 | 金相顯微鏡 |
23 | 球化等級 | 金相顯微鏡 | |
24 | 橡膠條(塊) | 氯丁膠含量 | 紅外測試儀 |
25 | 邵氏(A)硬度 | 邵氏硬度器 | |
26 | 拉伸強度 | 拉力試驗機 | |
27 | 拉斷伸長率 | 拉力試驗機 | |
28 | 壓縮永久變形(100℃×22h) | 壓力試驗機 |
8.3.2 抽樣與檢驗
8.3.2.1 從受檢批中采用隨機抽樣的方法抽取5套可調式防沉降檢查井蓋,逐套進行外觀質量、尺寸偏差和重量檢驗。
8.3.2.2 從受檢外觀質量、尺寸偏差和重量合格的可調式防沉降檢查井蓋中抽取2套,逐套進行承載能力和球化率檢測。
8.3.2.3 經8.3.2.2條檢驗合格后,另外取3根橡膠條(圈)進行氯丁膠含量、邵氏(A)硬度、拉伸強度、拉斷伸長率和壓縮永久變形檢測;若使用的為橡膠墊塊,則需取12塊。若需方有特殊要求,該項可作為交貨的條件。
8.3.3 判定規則
8.3.3.1 外觀質量、尺寸偏差和重量檢驗,受檢5套檢查井蓋中,檢驗項目中不超過1項不合格,受檢的檢查井蓋不超過1套不合格,則判定該批產品為合格。
8.3.3.2 承載能力檢驗中,如有任一套不滿足6.5.1條和6.5.2條的規定,則再在同批產品中抽取2 套檢查井蓋復檢,若任出現一套或以上不滿足要求,則判定該批檢查井蓋為不合格。
8.3.3.3 金相檢驗中,如球化率有任一套不滿足5.1條的規定,則判定該批檢查井蓋為不合格。
8.3.3.4 橡膠條(圈、塊)檢驗:氯丁膠含量、邵氏(A)硬度、拉伸強度、拉斷伸長率和壓縮永久變形中任一項目不滿足5.2條規定,則判定該批檢查井蓋的橡膠條材料不合格。
8.4 型式檢驗
8.4.1 遇有下列情況之一時,應進行型式檢驗:
a) 生產滿1年;
b) 新產品生產定型鑒定;
c) 產品設計、生產工藝、使用材料變更;
d) 出廠試驗與上一次型式檢驗有較大差異;
e) 停產后恢復生產;
f) 國家質量監督機構提出進行型式檢驗。
8.4.2 抽樣與檢驗
8.4.2.1 從受檢批中采用隨機抽樣的方法抽取20套檢查井蓋,逐套進行外觀質量、尺寸偏差和重量檢驗。
8.4.2.2 從受檢外觀質量、尺寸偏差和重量合格的檢查井蓋中抽取3套,逐套進行承載能力和球化率檢驗。
8.4.2.3 經8.4.2.2條檢驗合格后,另外取3根橡膠條(圈)進行氯丁膠含量、邵氏(A)硬度、拉伸強度、拉斷伸長率和壓縮永久變形檢驗;若使用的為橡膠墊塊,則需取12塊。
8.4.3 判定規則
8.4.3.1 受檢20套檢查井蓋中,檢驗項目中不超過1項不合格,受檢的檢查井蓋不超過2套不合格,則判定該批產品的外觀質量、尺寸偏差和重量合格。
8.4.3.2 承載能力檢驗中,如有任一套不滿足6.5.1條和6.5.2條的規定,則再在同批產品中抽取3 套檢查井蓋復檢,若任出現一套或以上不滿足要求,則判定該批檢查井蓋為不合格。
8.4.3.3 金相檢驗中,如球化率有任一套不滿足5.1條的規定,則判定該批檢查井蓋為不合格。
8.4.3.4 橡膠條(圈、塊)檢驗中,氯丁膠含量、邵氏(A)硬度、拉伸強度、拉斷伸長率和壓縮永久變形中任一項目不滿足5.2條規定,則判定該批檢查井蓋的橡膠條材料不合格。
8.4.3.5 外觀質量、尺寸偏差、重量、承載能力、球化率和橡膠條均滿足本標準的要求,則判該批產品為合格。
8.4.3.6 型式檢驗不合格,該產品應立即停止生產,采取措施后,應再次進行型式檢驗,合格后方能正式投入生產。
9.1 標志
每套檢查井蓋上必須具有清晰且永久性的下列標志:
a) 承載等級標志;
b) 制造廠名或商標;
c) 生產日期與批號;
d) 檢查井蓋類型標志,如“雨水”、“消防”等;
e) 執行標準;
f) 井座凈開孔尺寸; g) 開啟標志。
9.2 隨行文件
產品從代理或經銷商處采購的,須有代理或銷售證明材料。產品隨行文件應包括: a) 合格證書(有編號); b) 制造廠商資質材料; c) 生產質量檢驗結果; d) 制造廠檢驗部門及檢驗人員簽章; e) 執行標準編號。
9.3 運輸人工裝卸時,嚴禁扔上扔下,以免損壞;當用叉車裝卸時,疊加的高度不大于1.5米,產品底部應有托架。
9.4 貯存
按規格分類碼放。貯存地應遠離火源和熱源,環境溫度不應高于60℃。

19
DB510100/T 203—2016
B
附 錄 B
(規范性附錄)
D400不設透氣孔球墨鑄鐵可調式防沉降Φ680檢查井蓋結構示意圖

20
DB510100/T 203—2016
AC
附 錄 C
(規范性附錄)
C250球墨鑄鐵可調式防沉降660*340*120雨水篦子結構示意圖
_
________________________________
成都九州合創建材有限公司是一家專業生產井蓋的生產性企業。公司有生產球墨鑄鐵井蓋,鑄鐵井蓋,復合井蓋,樹脂井蓋,不銹鋼隱形井蓋,水泥井蓋,溝蓋板,雨水篦子。擁有先進齊全的井蓋生產設備,機制流水線井蓋生產設備,半自動井蓋生產設備,形成對井蓋行業的帶領作用,是井蓋種類更新最快規格尺寸最齊全的井蓋廠家之一。